
MuchoWow Textilposter Blumen - Aquarell - Blau 60x90 cm mit holzfarbenen Rahmen - Textil
€34.95
inkl. MwSt. zzgl. Versand
Versand: €0.00

EDITED Loafer 'Clara' frauen braun 37
€77.40
inkl. MwSt. zzgl. Versand
Clairefontaine 10x Koverbook, Heft 24x32 cm, 48 Blatt 90g,kariert 5/5 mit Rand, Einband aus transparentem Polypropylen - Violett 981605C
€74.40
inkl. MwSt. zzgl. Versand
Versand: €6.99

Station - Kugelschreiber-Set
€9.07
inkl. MwSt. zzgl. Versand
Versand: €8.90

Best for Home Boxspringbett mit Bettkasten Trinity K-5 Bonellfederkern inkl. Topper, mit Lieferung, Aufbau & Entsorgung 160x200-Graphit
€1,079.99
inkl. MwSt. zzgl. Versand
Versand: €0.00

Etana Staubsauger-Beutel kompatibel mit Bosch BBS2115 I BBS2115DF - BBS 2115 I DF - 10 Stück Staubbeutel
€13.95
inkl. MwSt. zzgl. Versand
Versand: €0.00

MuchoWow Poster Pferd - Strand - Mähne 60x80 cm - Schlafzimmer Dekoration
€26.99
inkl. MwSt. zzgl. Versand
Versand: €0.00

ABAKUHAUS Buchstabe M Kissenbezug Set (4 Stück), Hinweise Music Capital M, Moderner Doppelseitiger Digitaldruck, 45 cm x 45 cm, Mehrfarbig
€19.99
inkl. MwSt. zzgl. Versand
Versand: €0.00

BPW Achslappen links - 05.032.22.27.8 - 0503222278
€138.19
inkl. MwSt. zzgl. Versand

NUANCE Schalen-BH schwarz Gr. 70E. Ohne Bügel. Bequem
€37.99
inkl. MwSt. zzgl. Versand
Versand: €4.95

Folsäure 400 Plus B12 + Jod Tabletten 120 St
€9.45(€78.75 / ct)
inkl. MwSt. zzgl. Versand
Versand: €3.95

Rapala X-Rap Freshwater 6cm Live Roach Gewicht 4g
€11.99
inkl. MwSt. zzgl. Versand
Versand: €5.99

Papa Bier Tasse Geschenk Lustige Geschenkidee Spruch (Blau)
€16.95
inkl. MwSt. zzgl. Versand
Versand: €0.00

Harry Potter - "Gryffindor" Sweatshirt für Herren BI28487 (XL) (Burgunderrot)
€35.49
inkl. MwSt. zzgl. Versand
Versand: €2.70

vidaXL Ottoman-Bett mit Matratzen Schwarz 180x200 cm Samt
€691.99
inkl. MwSt. zzgl. Versand
Versand: €0.00

KOROSHI Pullover Jungen Größe 104 mischfarben / schwarz
€39.99
inkl. MwSt. zzgl. Versand
Versand: €4.90

Damen kurzarm Capri Schlafanzug Pyjama mit Schmetterling als Motiv - auch in Übergrössen ; grau-melange , 48-50
€27.99
inkl. MwSt. zzgl. Versand
Versand: €4.95

Brumberg BIRO CIRCLE LED-Pendel-Ringleuchte, D=450mm, H=50mm, 30W, 3181lm, 4000K, direkt, schaltbar, Betriebsgerät, weiß (13825174)
€678.18
inkl. MwSt. zzgl. Versand
Versand: €4.95

Otherness
€12.43
inkl. MwSt. zzgl. Versand
Versand: €3.55

Duravit Waschtischunterschrank bodenstehend „XSquare“ 120 × 77,8 × 54,8 cm Graphit Matt
€1,338.61
inkl. MwSt. zzgl. Versand
Versand: €85.00

Poster mit Rahmen weiß "The Kiss abstract couple" artboxONE - Abstrakt,Menschen,Liebe
€54.99
inkl. MwSt. zzgl. Versand
Versand: €4.99

Poster mit Rahmen weiß "Hebrews 13:8" artboxONE - Typografie
€54.99
inkl. MwSt. zzgl. Versand
Versand: €4.99

Urban Classics Tréning póló Férfi lila , Méret L
HUF 32,000.00
inkl. MwSt. zzgl. Versand
Villeroy & Boch NewWave Frühstücksteller / Kuchenteller Quadrat
€32.90
inkl. MwSt. zzgl. Versand

MuchoWow Poster Kassettenspieler 120x80 cm - Bilder
€34.99
inkl. MwSt. zzgl. Versand
Versand: €0.00

Interdeco Gardinenstange / Vorhangstange Edelstahl-Optik / Messing Antik, Typ Primus Lucan (Kappe), 16 mm Ø 1-läufig, 240 cm
€53.70
inkl. MwSt. zzgl. Versand
Versand: €0.00

Bayton Papucs 'Ballarat' Női kék , Méret 41
HUF 26,925.00
inkl. MwSt. zzgl. Versand

Indigos UG - Aufkleber Heckscheibe & Motorklappe DE6642 - gold - 600x150 mm - Liverpool - Auto Scheiben Fenster Heckklappe Tuning Racing JDM - Die cut
€18.99
inkl. MwSt. zzgl. Versand
Versand: €0.00

Funktionssofa 2-Sitzer Leder VENETO in Creme - Sofanella
€4,169.00
inkl. MwSt. zzgl. Versand
Versand: €0.00

Herren Grafik T-Shirt Frauen Blume Tattoo Kummer – Women Flower Tattoo Grief – Öko-Verantwortlich Vintage Jahrgang Kurzarm Lustige Druck Gebur...
€24.95
inkl. MwSt. zzgl. Versand
Versand: €4.95

Weiss Elektrotechnik 85/384 Printtransformator 1 x 230V 1 x 18 V/AC 16 VA 889mA
€17.99
inkl. MwSt. zzgl. Versand
Versand: €3.95

LAMO Manufaktur Wandregal Holz Baumkante | Regal Farbe: Nussbaum | mit weißem Basic Regalträger | 140 cm
€131.69
inkl. MwSt. zzgl. Versand
Versand: €4.90

Urban Backwoods Fighter's Club Gandhi I, Damen T-Shirt, Farbe: Hellblau, Größe: L
€19.95
inkl. MwSt. zzgl. Versand
Versand: €2.99

TOPRAN Keilrippenriemen 722384
€18.19
inkl. MwSt. zzgl. Versand

Zirkon 0,51 Karat
€34.40
inkl. MwSt. zzgl. Versand
Versand: €4.90

Keuco Fertigmontageset IXMO Comfort UP-3-W-Umstellv., rd, Schlauch, MS geb.
€376.99
inkl. MwSt. zzgl. Versand
Versand: €0.00

Fototapete Tiere - Vliestapete - Bildtapete UV-beständig Fische weiss Illustration Wandtapete geruchsfrei
€129.99
inkl. MwSt. zzgl. Versand
Versand: €6.99

Beddinghouse Bettwäsche-Ganitur Rhys Farbe Terrakotta Größe 135x200+80x80
€64.90
inkl. MwSt. zzgl. Versand
Versand: €0.00

Gabor 23.331.10, Sneaker in Pink für Damen, Größe 37
€99.95
inkl. MwSt. zzgl. Versand

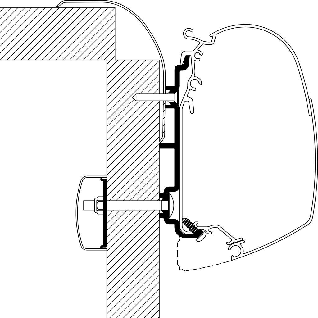
Thule Omnistor 5200/8000 Adapter für Frankia, 400cm
€290.00
inkl. MwSt. zzgl. Versand
Versand: €0.00

vianmo Blechschild 20x30 cm Physiker Beruf Arbeit
€14.90
inkl. MwSt. zzgl. Versand
Versand: €2.95

fortis Handschuh Rigger, Rindspaltleder, Gr. 10, 12 Stück
€36.49
inkl. MwSt. zzgl. Versand
Versand: €4.90

Massivholzbett mit Schubladen 180x200 cm Kiefer
€262.78
inkl. MwSt. zzgl. Versand
Versand: €0.00

Coloray Bild aus Leinwand 120x60 Leinwand Dekoration - Ozean Meereswellen Küste
€99.99
inkl. MwSt. zzgl. Versand
Versand: €0.00

Dubai
€18.82
inkl. MwSt. zzgl. Versand
Versand: €0.00

Mr. & Mrs. Panda Einteiler Eisbär Faul 1. - 3. Monat - Heather Grey - Geschenk, babykleidung body, Arbeit, Strampler, Büro, Bürojob, Baby, babya...
€21.99
inkl. MwSt. zzgl. Versand
Versand: €4.90

Herren Grafik T-Shirt Softball seit 1995 – Softball Since 1995 – Geschenk 29. Geburtstag Jahrestag 29 Jahre Jubiläum 29 Jährige Mann Jahrgang...
€20.95
inkl. MwSt. zzgl. Versand
Versand: €4.95
67x120cm bella rosa Universal Matte MD Entree
€39.95(€49,937.50 / sqm)
inkl. MwSt. zzgl. Versand
Versand: €4.99

HAKRO Damen Poloshirt MIKRALINAR ECO - tanne - L
€25.59
inkl. MwSt. zzgl. Versand

VOID Buntes Konfetti Konfettiregen Kissenbezug Kissenhülle Sofakissen Kissen Deko Outdoor-Kissen Dekokissen
€39.90
inkl. MwSt. zzgl. Versand
Versand: €3.99

A Fate Inked in Blood, Taschenbuch von Danielle L. Jensen, Vermilion, 9781804947159
€13.50
inkl. MwSt. zzgl. Versand
Versand: €0.00

Powerbank 10000mAh mit 15W Wireless, 20W Schnellladung, Klappständer & integrierten Kabeln
€32.99
inkl. MwSt. zzgl. Versand
Versand: €0.00

Storm 11. Im Labyrinth des Todes - Don Lawrence (Buch)
€15.80
inkl. MwSt. zzgl. Versand
Versand: €0.00

Wohnmobil Sitzbezüge Schonbezüge für Mooveo Campervan / XL H10
€199.00
inkl. MwSt. zzgl. Versand
Versand: €0.00

Schaeffler LuK Kupplungssatz 622 3046 00
€96.89
inkl. MwSt. zzgl. Versand

Relingträger CRV107ANERO + Skiträger / Snowboardträger / Skihalter Alu 4 Paar Ski kompatibel mit Volvo XC90 5 Türer ab 2015
€179.95
inkl. MwSt. zzgl. Versand
Versand: €0.00

Mustang Herren Jeans Style Tramper Straight, blau dunkel
€79.99
inkl. MwSt. zzgl. Versand
Versand: €3.95

Leuchtbild Acrylglas ️ Florale Eleganz und Adlerblick | Canvalight DIA Panorama 125 x 70 / kaltweiß
€759.00
inkl. MwSt. zzgl. Versand

Pastures New
€23.23
inkl. MwSt. zzgl. Versand
Versand: €0.00

Sockelleiste MDF 18 x 58 x 2400 mm Eiche zum Kleben, Clipsen, Schrauben & Nageln MDF-Kern foliert Fußleiste by PROVISTON 60 Meter | 25 Stück
€275.40
inkl. MwSt. zzgl. Versand
Versand: €18.90

Saeco Milch Einlass Rohr Verbinder Royal one Touch
€5.90
inkl. MwSt. zzgl. Versand
Versand: €5.60

Windhager Schneckenschutzring, Pflanzenschutz 6 Stück, Wiederverwendbar, Recycelbar, Barriere
€14.99
inkl. MwSt. zzgl. Versand
Versand: €4.90

Brennpunkt Bangkok - Gefangen im Großstadt-Dschu - DVD
€17.41
inkl. MwSt. zzgl. Versand
Versand: €9.99

Sanetta Mädchen Jazzpants - Girl Pant, Unterhose, Uni, Organic Baumwolle 128 (6-7 Years) Weiß
€6.95
inkl. MwSt. zzgl. Versand
Versand: €4.90

Daniel Hills Übergangsjacke Jungen Größe 116 navy / orange / weiß
€41.29
inkl. MwSt. zzgl. Versand
Versand: €0.00

LAUFEN Leelo Spiegel mit Aluminiumrahmen 1800x700mm
€1,054.34
inkl. MwSt. zzgl. Versand
Versand: €140.00

Poster mit Rahmen kiefer "Monochromer Winter" artboxONE - Abstrakt
€54.99
inkl. MwSt. zzgl. Versand
Versand: €4.99

Villeroy & Boch Collaro Waschbeckenunterschrank C149B0, 500x548x380mm, Kansas Oak
€662.60
inkl. MwSt. zzgl. Versand
Versand: €69.00

Warlord Games WGA-PS-1 - Pike and Shotte Battalia Army | Tabletop
€85.95
inkl. MwSt. zzgl. Versand
Versand: €14.90

Empfangstisch Büromöbel Thekenmöbel Tisch Kanzlei Praxis Frezza Empfangstische
€6,999.00
inkl. MwSt. zzgl. Versand
Versand: €0.00

Laut Huex Elements - iPhone 11 Pro Max Hülle (Marmorweiß)
€3.55
inkl. MwSt. zzgl. Versand
Versand: €6.99

Satin-Stoff - Select - Nachtblau
€4.39(€4,390.00 / m)
inkl. MwSt. zzgl. Versand
Versand: €6.89

Musselinbluse für Schwangerschaft & Stillzeit ENVIE DE FRAISE wollweiß Gr. 32
€39.99
inkl. MwSt. zzgl. Versand
Versand: €4.95

1 Stück Batterie-Wechselrichterkabel 10 AWG Gauge 5FT 5/16" Lug Batteriekabel Universal für Auto Fahrzeug Boot Wohnmobil Solar verzinntes Kupfer ...
€8.69
inkl. MwSt. zzgl. Versand
Versand: €0.00

Lila - die mystische Farbe (Wandkalender 2026 DIN A4 quer), CALVENDO Monatskalender
€21.99
inkl. MwSt. zzgl. Versand
Versand: €0.00

Leinwandbild ️ Mona - Zerbrechliche Eleganz | Querformat | BigBilder 120 x 60 / Stärke 4 cm
€149.00
inkl. MwSt. zzgl. Versand

Zara T-Shirt weiß Gr. 38 Damen
€20.24
inkl. MwSt. zzgl. Versand
Versand: €0.00

BLUE PRINT Bremsbelagsatz, Scheibenbremse ADH24285
€27.59
inkl. MwSt. zzgl. Versand

MuchoWow Glasbilder - Bilder auf Wandbild - Foto auf Glas Wald - Winter - Natur - Abstrakt - Schnee 90x60 cm Wanddekoration aus Glas - Acrylglasbil...
€99.99
inkl. MwSt. zzgl. Versand
Versand: €0.00

HERTH+BUSS JAKOPARTS Dichtung Zylinderkopfhaube Ventildeckeldichtung J1222123
€10.09
inkl. MwSt. zzgl. Versand

Villeroy & Boch Antao Waschbeckenunterschrank 1200 x 360 x 500mm
€5,377.61
inkl. MwSt. zzgl. Versand
Versand: €85.00

Matratze 65x210 cm Doppelmatratze, H3 Mittelfest Federkernmatratze, Taschenfederkernmatratze 25 cm Hoch Visco Memory Profilierter Moletschaum Hypoa...
€429.00
inkl. MwSt. zzgl. Versand
Versand: €0.00

VAN WEZEL 3782927 - OE 13196005 Nebelschlussleuchte, links für Meriva (X03)
€27.00
inkl. MwSt. zzgl. Versand
Versand: €10.00

WachtelGlück Eifutter Deluxe 1 Kg
€12.99
inkl. MwSt. zzgl. Versand
Versand: €7.50

Herren Grafik T-Shirt Reifung wie ein guter Wein 1970 – Aging Like A Fine Wine 1970 – Geschenk 54. Geburtstag Jahrestag 54 Jahre Jubiläum 54 J...
€20.95
inkl. MwSt. zzgl. Versand
Versand: €4.95

Herren Grafik T-Shirt Anker Tattoo Zweck – Anchor Tattoo Purpose – Öko-Verantwortlich Vintage Jahrgang Kurzarm Lustige Druck Geburtstag Gesche...
€26.95
inkl. MwSt. zzgl. Versand
Versand: €4.95

style3 Watercolor Wanna Play Herren T-Shirt
€18.90
inkl. MwSt. zzgl. Versand
Versand: €2.99

Führungsrad, hinteres Führungsrad, hinteres Führungsrad für Fahrräder, hinteres Führungsrad für Fahrräder, Führungsrad für Radfahrer
€11.99
inkl. MwSt. zzgl. Versand
Versand: €0.00

Villeroy & Boch Collaro Seitenschrank eine Tür, Anschlag rechts, 1 Auszug, 404x748x349mm, C03201RK
€843.00
inkl. MwSt. zzgl. Versand
Versand: €0.00

TPFLiving Kunstdruck LW-16 (OHNE RAHMEN) Poster - Leinwand - Wandbild - Hochauflösender Giclée-Druck, langlebig und hochwertig - Sommerlandschaft...
€25.99
inkl. MwSt. zzgl. Versand
Versand: €0.00

Poster mit Rahmen Schwarz (Metallic) "Sonnenuntergang in Edinburgh" artboxONE - Städte,Architektur
€54.99
inkl. MwSt. zzgl. Versand
Versand: €4.99

KiddyMoon Bällebad 120x30cm 600 Bälle ∅7cm Rund Bällepool Mit Bunten Bällen Für Babys Und Kinder
€154.97
inkl. MwSt. zzgl. Versand
Versand: €0.00

Altarkerzen, Kaminkerzen Paprika Hell-Rot 300 x Ø 70 mm, 4 Stück, Kerzen mit Dornbohrung in RAL Kerzengüte Qualität
€58.48
inkl. MwSt. zzgl. Versand
Versand: €3.95

Kennst du schon die Tiere?, Gebundene Ausgabe von Matthew Oldham, Usborne
€8.00
inkl. MwSt. zzgl. Versand
Versand: €0.00

Wandlampe außen Haus Terrasse IP43 Schwarz E27 Glas Metall Rustikal Außenleuchte Wand
€131.95
inkl. MwSt. zzgl. Versand
Versand: €0.00

Travel Blue MICRO PEARLS Nackenkissen weinrot - Travel Blue
CHF 9.94
inkl. MwSt. zzgl. Versand
KADIMA DESIGN Teppich Kurzflor waschbar Einfarbig Wohnzimmer schmutzabweisend Grau 160x220 | 100% Polyester | Florhöhe: 10 mm | Maschinenwäsche,
€59.95
inkl. MwSt. zzgl. Versand
Versand: €0.00

Alexandrit 1,09 Karat
€221.55
inkl. MwSt. zzgl. Versand
Versand: €0.00

Larkwood - Schlafanzug für Baby PC5958 (68) (Schwarz)
€10.74
inkl. MwSt. zzgl. Versand
Versand: €2.70

ABAKUHAUS Liebe Haustier Bandana, Kleine Herzen auf vertikale Linien, 55x55 cm, Gelbgrün und Elfenbein
€16.99
inkl. MwSt. zzgl. Versand
Versand: €0.00
