
Herztasse "BMX Biker Sportart B" artboxONE - Sport,Sport / Sommerspiele - Bmx,Biker,Fahrrad,Sport,Sport,Radfahren
€19.99
inkl. MwSt. zzgl. Versand
Versand: €4.99

Qrea - Zeichenblock A5 24 Blatt 160gr geklebt
€11.99
inkl. MwSt. zzgl. Versand
Versand: €6.95

Wechselmotiv Acrylglas ️ Cooler Mops mit Martini | Canvalight DIA Panorama 125 x 70
€159.00
inkl. MwSt. zzgl. Versand

DeinDesign Handyhülle für Apple iPhone 15 Plus Silikon Hülle Case Smartphone Schutzhülle Fanartikel Star Wars R2D2
€28.95
inkl. MwSt. zzgl. Versand
Versand: €3.95

Seasons of My Life
€24.12
inkl. MwSt. zzgl. Versand
Versand: €0.00

Remscheid Nordrhein-Westfalen Wandtattoo Wandaufkleber Wall Sticker - Dekoration, Küche, Wohnzimmer, Schlafzimmer, Badezimmer
€19.90
inkl. MwSt. zzgl. Versand
Versand: €6.90

MuchoWow Zierkissen Sofakissen Wohnzimmer Dekokissen 60x40 cm Illustration Alphabet mit Waldtieren - Kopfkissen - Polster mit Foto
€36.95
inkl. MwSt. zzgl. Versand
Versand: €0.00

USB-C Ladekabel für Alcatel One Touch Idol 5S Schwarz 2 x 1 m Handy Schnellladekabel Datenkabel
€14.90
inkl. MwSt. zzgl. Versand
Versand: €0.00

Tricorp Arbeitshose Twill - Darkgrey - 24
€64.02
inkl. MwSt. zzgl. Versand

Gelbe Buchreihe / Vermächtnis - Band 141e in der gelben Buchreihe, Taschenbuch von Amalie Sieveking, Epubli, 9783753158228
€7.99
inkl. MwSt. zzgl. Versand
Versand: €0.00

DFV mobile - Rucksack Tasche Umhängetasche Nylon kompatibel mit Ebook, Tablet und für Oppo A77 - Schwarz
€36.95
inkl. MwSt. zzgl. Versand
Versand: €3.95

Raffrollo Karo Rot - Weihnachten, Symbole & Muster - von „Sophie Augustin Illustration"; Muster, Weihnachten, grafisch, Karo...
€194.95
inkl. MwSt. zzgl. Versand
Versand: €5.95

PVC Wandpaneel Duschrückwand Onyx-Green in Marmor-Optik Hochglanz - 122x244cm
€139.90
inkl. MwSt. zzgl. Versand
Versand: €49.90

Poster 30x20 cm "Morgenlicht am See" artboxONE - Natur,Reise,Reise / Länder
€14.99
inkl. MwSt. zzgl. Versand
Versand: €4.99

Qualitative Inquiry at a Crossroads
€57.65
inkl. MwSt. zzgl. Versand
Versand: €0.00

Luftfilter Twin Air 150251 Schaumstoff für Honda XR R XL 250 ccm Bj. 1984 - 1988
€12.39
inkl. MwSt. zzgl. Versand
Versand: €0.00

mit Funktionen 2-Sitzer Stoff MORENA in Dunkelgrau - Sofanella
€2,909.00
inkl. MwSt. zzgl. Versand
Versand: €0.00

FEBI BILSTEIN Filter, Innenraumluft 173019 für 2 095 029
€11.70(€5,850.00 / ct)
inkl. MwSt. zzgl. Versand

artplants.de Künstlicher Eichenzweig Richard mit Eicheln, schwer brennbar, 65cm - Kunststoff Zweig
€21.90
inkl. MwSt. zzgl. Versand
Versand: €3.95

Effect Alu-Bilderrahmen Profil 100 XL Maßanfertigung silber matt Kunstglas UV 99 entspiegelt (2 mm)
€36.80
inkl. MwSt. zzgl. Versand

Kompatibel zu Lexmark P 4330 Tintenpatrone schwarz/color für 390 Seiten
€17.50
inkl. MwSt. zzgl. Versand
Versand: €2.49

Youtooz - Arcane - Jinx 11 cm League of Legends
€32.82
inkl. MwSt. zzgl. Versand
Versand: €5.99

Canvalight Leuchtbild ️ Freundschaft & Respekt | Schmal | wandbild.com 60 x 150 / kaltweiß
€449.00
inkl. MwSt. zzgl. Versand

Briefmarken Österreich 2012 Mi Block71 (kompl.Ausg.) postfrisch Kunst
€8.49
inkl. MwSt. zzgl. Versand
Versand: €2.99

Interdeco Gardinenstange / Vorhangstange Edelstahl-Optik / Weiß, Typ Sonette Estana (Glitzerkappe) Deckenmontage, 20 mm Ø 1-läufig, 280 cm
€81.30
inkl. MwSt. zzgl. Versand
Versand: €0.00

Hauptständer schwarz verlängert 25cm für Puch Maxi L, S, SL2, S2, P1, X30 NS, NL, NG
€21.75
inkl. MwSt. zzgl. Versand
Versand: €4.90

MuchoWow Gerahmtes Poster Gummi-Ente - Auto - Berge 90x60 cm - Poster mit Schwarzem Bilderrahmen Wandposter Rahmen Foto Bilder - Fotorahmen - Fot...
€59.99
inkl. MwSt. zzgl. Versand
Versand: €0.00

Agatha Raisin und der tote Auftragskiller
€10.00
inkl. MwSt. zzgl. Versand
Versand: €2.49

Länge 60mm - Aluminiumprofil Regalboden I-Typ Nut 8 / 320mm, Aluminiumprofil Aluminium Profil Alu Profile Montage Systemprofil
€5.87
inkl. MwSt. zzgl. Versand
Versand: €6.90

Indigos UG - Aufkleber Heckscheibe & Motorklappe DE7083 - grün - 600x598 mm - Dont drink and drive - Auto Scheiben Fenster Heckklappe Tuning Racin...
€18.99
inkl. MwSt. zzgl. Versand
Versand: €0.00

vidaXL Abdeckplane Weiß 5x8 m 650 g/m²
€200.16
inkl. MwSt. zzgl. Versand
Versand: €0.00

Holzschild Motorrad 12x18cm Biker Girl don ́t worry happy
€13.90
inkl. MwSt. zzgl. Versand
Versand: €1.80

Herren Grafik T-Shirt Galaxie Biker Darth Vader – Galaxy Bikers Darth Vader – Öko-Verantwortlich Vintage Jahrgang Kurzarm Lustige Druck Geburt...
€22.95
inkl. MwSt. zzgl. Versand
Versand: €4.95

vidaXL Garten Essgruppe 5 pcs Braun Polt Rattan
€270.24
inkl. MwSt. zzgl. Versand
Versand: €0.00

Luftfilter MANN-FILTER C 35 2260
€123.60
inkl. MwSt. zzgl. Versand
Versand: €4.95

MuchoWow
€39.95
inkl. MwSt. zzgl. Versand
Versand: €0.00

HB-Damenmantel, kurzarm-CONDUCTEX -ESD - 4XL
€74.60
inkl. MwSt. zzgl. Versand

DT Swiss Hinterradnabenadapter (135/5mm QR | SRAM XD)
€64.90
inkl. MwSt. zzgl. Versand
Versand: €4.99

Educa Max Alphabet Nature Puzzle 28 Stücke Mehrfarbig Kinder Mehrfarbig One Size
€19.98
inkl. MwSt. zzgl. Versand
Versand: €0.00

MNG Basic-Body Gr. 40 Damen
€26.95
inkl. MwSt. zzgl. Versand
Versand: €0.00

10 Stück Flachdichtung Klingersil C-4400 1 mm 1/2 Zoll
€7.50
inkl. MwSt. zzgl. Versand
Versand: €0.00

Wallario Outdoor-Poster für Garten oder Balkon 100 x 150 cm: Nebel am See bei Sonnenuntergang
€54.95
inkl. MwSt. zzgl. Versand
Versand: €6.99

unversteppter Matratzenbezug in rot - Größen: 140x200cm Matratzen-Höhe: 14cm (Maßanfertigung)
€78.95
inkl. MwSt. zzgl. Versand
Versand: €0.00

Passopisciaro Etna Rosso Passorosso
€23.80(€31,733.33 / l)
inkl. MwSt. zzgl. Versand

Wie Jungen Schule schaffen
€16.95
inkl. MwSt. zzgl. Versand
Versand: €0.49

MuchoWow Fototapete für Wohnzimmer oder Schlafzimmer Wandtapete Vinyl Motivtapete Eine Schwarz-Weiß-Illustration eines Herzens - 195x300 cm - D...
€155.99
inkl. MwSt. zzgl. Versand
Versand: €0.00

Damen Grafik T-Shirt Sterne limitierte Auflage 1990 – Stars, Limited Edition 1990 – Geschenk 34. Geburtstag Jahrestag 34 Jahre Jubiläum 34 Jä...
€17.95
inkl. MwSt. zzgl. Versand
Versand: €4.95

Lustiges Taschenbuch Abenteuer 17, Taschenbuch von Walt Disney, Egmont Ehapa, 9783841323163
€12.99
inkl. MwSt. zzgl. Versand
Versand: €0.00

Dreifke Geschwindigkeitsschild, 40 km/h, Alu, Ø 200 mm
€12.48
inkl. MwSt. zzgl. Versand
Versand: €3.95

QS Póló Női narancs , Méret XXL
HUF 10,990.00
inkl. MwSt. zzgl. Versand

ALÉ Kurzarm Fahrradtrikot - ESSENZA KID - Rosa/Weiß 14Y
€60.49
inkl. MwSt. zzgl. Versand
Versand: €0.00

MTS SPL M II Frontglas Tempax Ersatzglas (1 Stück in Fundgrube)
€23.86
inkl. MwSt. zzgl. Versand
Versand: €8.90

Kätzchen-Kalender mit Sprüchen (hochwertiger Premium Wandkalender 2026 DIN A2 quer), Kunstdruck in Hochglanz
€74.99
inkl. MwSt. zzgl. Versand
Versand: €0.00

JAPANPARTS PQ-551 Wasserpumpe, Motorkühlung OE KMD973025 kompatibel mit Pajero
€96.00
inkl. MwSt. zzgl. Versand
Versand: €0.00

How to Live on 24 Hours a Day - Arnold Bennett, Audio, 4061707987106
€9.99
inkl. MwSt. zzgl. Versand
Versand: €0.00

380 ml Selbstrührender Becher Magnetischer Selbstmischbecher für Kaffee, Tee, Milch Geschenk
€19.45
inkl. MwSt. zzgl. Versand
Versand: €0.00

8-tlg. Garten-Sofagarnitur mit Kissen Schwarz Poly Rattan
€757.27
inkl. MwSt. zzgl. Versand
Versand: €0.00

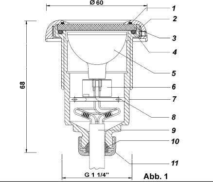
SANIT Urinal Abdeckplatte Ineo Bright Kunststoff matt chrom
€124.00
inkl. MwSt. zzgl. Versand
Versand: €6.90

Acrylglasbild ️ Blühende Krone des Hirsches | Schmal | BigBilder 80 x 240
€659.00
inkl. MwSt. zzgl. Versand

Anti-Rutsch-Leine ROT - 10m, 86MM TWISTLOCK - Hund 15-80kg
€49.99
inkl. MwSt. zzgl. Versand
Versand: €0.00

Herren Grafik T-Shirt Biscoitos Strandparty – Biscoitos Beach Party – Öko-Verantwortlich Vintage Jahrgang Kurzarm Lustige Druck Geburtstag Ges...
€20.95
inkl. MwSt. zzgl. Versand
Versand: €4.95

Bilderrahmen Vintage Weiss CLAMARO 53G Neo Collage nach Maß modern Holz, Größe:120x80
€83.99
inkl. MwSt. zzgl. Versand
Versand: €4.99

Rusty Neal Hemd Herren Größe M grau
€77.90
inkl. MwSt. zzgl. Versand
Versand: €0.00

Villeroy & Boch Subway 3.0 Waschbeckenunterschrank, 2 Auszüge, 973x576x478mm, C57000VN
€919.40
inkl. MwSt. zzgl. Versand
Versand: €65.00

Franz Beckenbauer Goldedition, Geheftet von Dennis Ebbecke, Nova MD, 978-3-9894226-4-3
€12.95
inkl. MwSt. zzgl. Versand
Versand: €0.00

Wallity, DEV03301100140, Leinwandbilder, Mehrfarbig, Holz, 100 x 140 cm
€156.29
inkl. MwSt. zzgl. Versand
Versand: €0.00

Digitalisierung der Filmverwertung
€59.00
inkl. MwSt. zzgl. Versand
Versand: €0.00

Casa Padrino Luxus Barock Deko Vase Schwarz - Prunkvolle Barockstil Massivholz Blumenvase - Barock Deko Accessoires - Edel & Prunkvoll - Luxus Qual...
€5,499.90
inkl. MwSt. zzgl. Versand
Versand: €7.90

Bild auf Leinwand - Leinwandbild - Zebras Bewegung Eleganz weiblich - 40x40cm - Wand Bild - Wanddeko - Leinwanddruck - Bilder - Kunstdruck - Wandde...
€31.99
inkl. MwSt. zzgl. Versand
Versand: €12.99

Stahl Unterfahrschutz für Katalysator Suzuki Swace
€153.00
inkl. MwSt. zzgl. Versand
Versand: €0.00

LiFePO4 Akku 36V 12Ah 432Wh Lithium-Eisen-Phosphat Batterie für Camping Boot
€279.00
inkl. MwSt. zzgl. Versand
Versand: €0.00

Westmark Kaffeefilter aus Glas »Brasilia« 24552260
€20.99
inkl. MwSt. zzgl. Versand
Versand: €2.90

BGS Werkstattwageneinlage 1/3: Steckschlüssel-Satz 12,5 mm (1/2 Zoll) 27 teilig ; BGS technic
€68.98
inkl. MwSt. zzgl. Versand
Versand: €5.95

ABAKUHAUS Sport Bettbezugs Set Für Doppelbetten, Mobiler Aktivitätsentwurf, Milbensicher Allergiker geeignet mit Kissenbezügen, Beige Korallenro...
€41.99
inkl. MwSt. zzgl. Versand
Versand: €0.00

Dichtung Wasserpumpendeckel Athena für Yamaha VMX 540
€4.15
inkl. MwSt. zzgl. Versand
Versand: €3.50

Songs Of Light & Darkness Written By Leonard Cohen (CD)
€17.99
inkl. MwSt. zzgl. Versand
Versand: €2.99

Herren Grafik T-Shirt Besser zu spät kommen als hässlich ankommen Tacos Tequila und Tabu – Better To Be Late Than To Arrive Ugly Tacos Tequila And
€20.95
inkl. MwSt. zzgl. Versand
Versand: €4.95

Gardinenstange Edelstahl-Optik / Schwarz, Metall 16 mm Ø Primus Paolo
€71.00
inkl. MwSt. zzgl. Versand
Versand: €0.00

Selbstklebende Folie Fototapete - Map in Shades of Beige - Continents With Animals 98x70 cm Für Kinder e-C-10095-a-a
€23.78
inkl. MwSt. zzgl. Versand
Versand: €4.99

Magic Needle Zweigart Edition Kreuzstich Set "Frohe Weihnachten", Zählmuster, 17x22cm
€19.29
inkl. MwSt. zzgl. Versand
Versand: €0.00

STAUFF EWV 15 L DKO - 8272L15 00
€19.78
inkl. MwSt. zzgl. Versand

Tshirts Tommy Hilfiger dw0dw21838nebdsxs
€36.55
inkl. MwSt. zzgl. Versand
Versand: €0.00

Farbcode: 182 - Autolack für FIAT Auto Spray Lackspray Sprühdose Spraydose 400ml
€18.99
inkl. MwSt. zzgl. Versand
Versand: €0.00

30 Premium Staubsaugerbeutel kompatibel für Philips HR 8553 Mobilo Plus
€8.99
inkl. MwSt. zzgl. Versand
Versand: €6.90
Sanipa 3way Unterschrank 40 cm, 2 Auszüge BR14437, Badmöbel,
€706.86
inkl. MwSt. zzgl. Versand
Versand: €59.95

Bremsscheibe NG 310 - 220 / 105 / 3,5 / 6 Loch für Beta RR Enduro Supermoto, Rieju RS-1 Evolution Urban Special 50 / 125 ccm
€77.95
inkl. MwSt. zzgl. Versand
Versand: €4.90

The Record Company: The 4th Album (Vinyl-LP)
€29.99
inkl. MwSt. zzgl. Versand
Versand: €0.00

Bremsbeläge Galfer FD514G1397 Sinter-Metall OFFROAD hinten für Bombardier - Can-am Maverick R Max Trial Ryker 600 - 1000 ccm Bj. 2017 - 2022
€25.34
inkl. MwSt. zzgl. Versand
Versand: €3.50

Gartenhocker mit Grauem Kissen Massivholz Kiefer
€94.53
inkl. MwSt. zzgl. Versand
Versand: €0.00

Craft Squad Go Ziptop Herren - Rot
€25.06
inkl. MwSt. zzgl. Versand
Versand: €4.90

MuchoWow Wandteppich Wandbehang Weltkarte - Vintage - Antik 60x40 cm Tapisserie Dekoration Wandtuch - Wanddekorationen
€33.95
inkl. MwSt. zzgl. Versand
Versand: €0.00

Bilder auf glas - Pfau Feder modern - 140x50cm - Glasbilder - Wandbilder - Kunstdruck - zum Aufhängen bereit - Wanddekoration aus Glas - Glas Bild...
€123.99
inkl. MwSt. zzgl. Versand
Versand: €9.99

Outdoor Kissen St. Maxime Struktur sonnengelb 60x60cm
€26.95
inkl. MwSt. zzgl. Versand
Versand: €4.90

ABAKUHAUS Nebraska Rustikaler Gardine, Gazebo Sunken Gardens, Schlafzimmer Kräuselband Vorhang mit Schlaufen und Haken, 280 x 175 cm, Mehrfarbig
€45.99
inkl. MwSt. zzgl. Versand
Versand: €0.00

Nays Softbait CRTR 4,0 Inch C-06
€7.99
inkl. MwSt. zzgl. Versand
Versand: €5.95

Verkehrszeichen StVO, zul. Höchstgeschw. 110 km/h VZ 274-110, Alu 2 mm Flachform, Ø 750 mm, RA2
€130.66
inkl. MwSt. zzgl. Versand

Rassenbilder aus der Vergangenheit
€44.00
inkl. MwSt. zzgl. Versand
Versand: €0.00

1x Reifendrucksensor RDKS Sensor Metallventil Gunmetal für Dodge Grand Caravan 2002-2003
€22.99
inkl. MwSt. zzgl. Versand
Versand: €0.00

Prosperplast Blumentopf MILLY ROUND Marsala 23,6 cm
€9.99
inkl. MwSt. zzgl. Versand
Versand: €0.00

VERSEE Montreal Bürostuhl Leder Weiß – ergonomischer Chefsessel, komfortabler Arbeitsplatzstuhl, hohe Rückenlehne, stabil & belastbar bis 150 kg
€315.59
inkl. MwSt. zzgl. Versand
Versand: €0.00
